“遥遥领先”可以作为商标使用吗?
来源:管理机构日期:2023-10-16
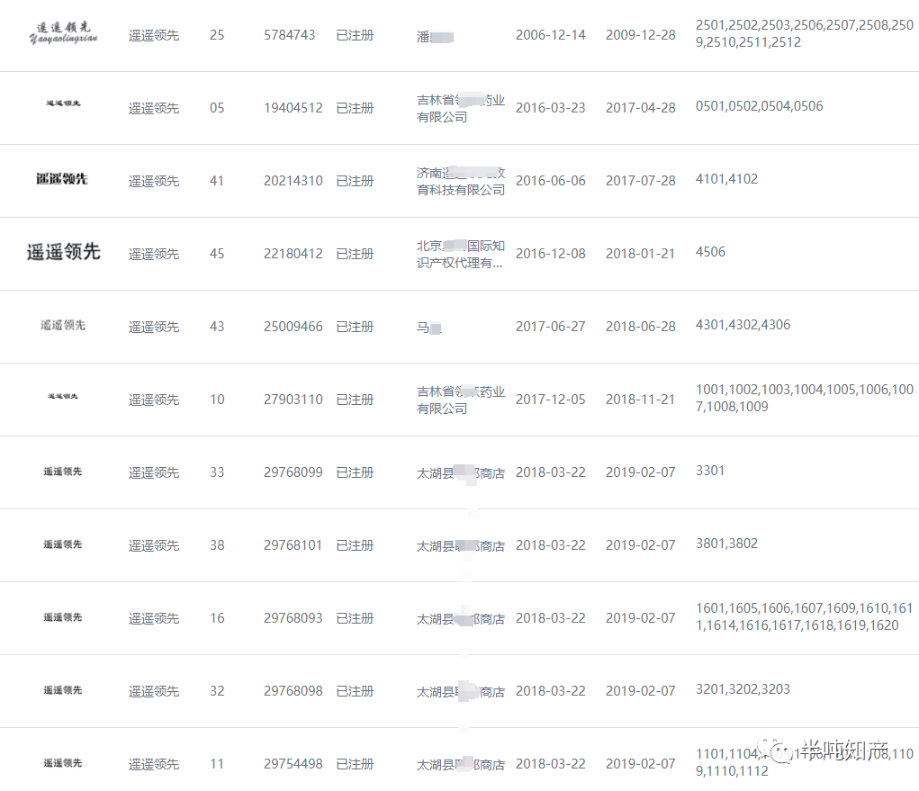
最近,最火的网络词,莫过于华为高管余承东在发布会多次使用“遥遥领先”,各种领先,该词的热度有了,自然也有人把“遥遥领先”申请成商标,这次抢注的比较少,仅有两家公司申请注册“遥遥领先”。

一方面,抢注者也懂了,这样的大环境下这样的名称没法注册成商标,另一方面看到了早在几年前,就已经有人成功注册“遥遥领先”,再去注册,很难成功。

那这些注册成功的商标,能投入使用吗,“遥遥领先”字面意思远远地走在最前面,领先同行的不是一星半点,有最好、最优的意思。这样的同性质的词汇作为商标,小编认为一方面缺乏显著性,商标审查审理指南中,将类似“超一流”作为案例,认定其缺乏显著性。

另一方面,“遥遥领先”用作商标,还有一定的欺骗性,商标审查审理指南中将类似词汇,“零缺陷”、“极品”作为案例,认定其容易一起误认,具有欺骗性。

从以上两点不难看出,“遥遥领先”既不能作为商标使用,也不能作为商标注册。 另外,上一个在广告中使用“遥遥领先”的某二手车公司不仅被罚款1250万元,还被同行起诉不正当竞争,法院判定不正当竞争,构成虚假宣传。

接下来,就看商标局是否会以职权宣告已经注册的“遥遥领先”无效了!即使没有被无效,“遥遥领先”也不能当成商标使用!
文章来源:半吨知产
专业知识每日分享
《商标法》规定:许可人应当监督被许可人使用其注册商标的商品质量。被许可人应当保证使用该注册商标商品的质量。经许可使用他人注册商标的,必须在使用该注册商标的商品上标明被许可人的名称和商品产地。
-END-